شرکت شیائومی توانست گواهی ثبت اختراع برای تولید گوشی هایی با دوربین جدا شونده و قابلیت اتصال بیسیم را دریافت کند.

جی پلاس، رقابت برای حاشیه‌های کوچکتر و بدون شکاف در بسیاری از نوآوری‌های اخیر شرکت‌های تولید تلفن‌های هوشمند مهم است و در نتیجه چندین روش خلاقانه برای به دست آوردن صفحه‌های بزرگتر کشف شده است.

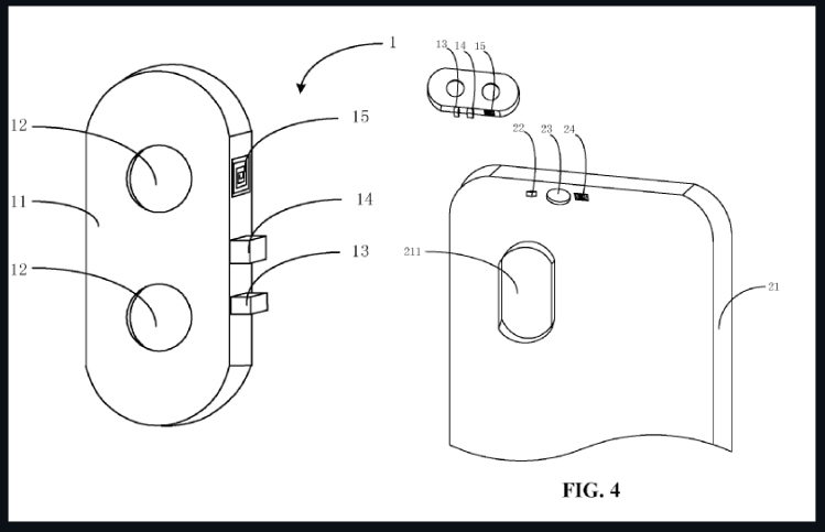
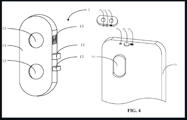
ماژول دوربین جداشونده شیائومی

باشگاه خبرنگاران جوان نوشت؛ شیائومی با این نوع تلاش‌ها غریبه نیست و آخرین حق ثبت اختراعش برای آینده مربوط به نمایشگر بدون حاشیه و ماژول دوربین جداشونده است. دوربین سلفی اغلب بزرگترین مانع در برابر نمایشگر لبه به لبه است. شیائومی سعی دارد با داشتن یک ماژول دوربین قابل جابجایی در قسمت پشتی دستگاه که در قسمت بالایی گوشی وصل می‌شود، در صورت قرار گرفتن دوربین سلفی، این مشکل را دور بزند.

این حق ثبت اختراع شامل تعدادی تصویر است که دوربین با لنز دوگانه را نشان می‌دهد که از طریق آهن ربا به لبه بالایی دستگاه متصل می‌شود. در توضیحات ثبت اختراع آمده که دوربین ممکن است به صورت بی سیم با تلفن هوشمند ارتباط برقرار کند و از فناوری‌هایی مانند Wi-Fi، Bluetooth، NFC یا ترکیبی از این‌ها استفاده کند.

دوربین های مدولار در جدیدترین حق ثبت اختراعات شیائومی بازی می کنند

این نوع دوربین مغناطیسی در نوع خود اولین نیست. موتورولا در سال ۲۰۱۶ برای یک Moto Mod مغناطیسی با هاسلبلاد همکاری کرد که بزرگنمایی نوری ۱۰ برابر، نتایج متوسط ​​و نرم افزار حشره دار را ارائه می‌دهد. در جای دیگر همچنین یک دوربین ۳۶۰ درجه ارائه می‌دهد که از طریق دو پایه فلزی متصل می‌شود.

البته حق ثبت اختراع شیائومی از این نظر متفاوت است که این یک وسیله جانبی نیست بلکه دوربین اصلی است، این دوربین احتمالاً بیشتر شبیه دوربین‌های گوشی‌هایی مانند Zenfone 6 و ایسوس است که یک دوربین لولایی فانتزی را ارائه می‌دهند یا Samsung Galaxy A80 که صفحه نمایش آن به سمت پایین کشیده می‌شود تا ماژول دوربین را بچرخاند.

دوربین های مدولار در جدیدترین حق ثبت اختراعات شیائومی بازی می کنند

سوالاتی که شیائومی باید پاسخ آن‌ها را بدهد

این نوع فناوری دوربین مجموعه‌ای از امکانات را به همراه دارد، اما سوالاتی را نیز به وجود می‌آورد. آیا ارتباط بی سیم دوربین به اندازه کافی سریع عمل می‌کند تا از تأخیر جلوگیری کند؟ اندازه یک حسگر تصویر در ماژول چقدر است؟ اگر گم یا رها شود، چه می‌شود؟ این‌ها نوعی از مشکلاتی است که شیائومی باید حل کند تا این فناوری نوپا از بین نرود.

شرکت شیائومی حداقل شش ماه پیش درخواست مالکیت معنوی این فناوری را داده، همچنین طی هفته‌های گذشته برای همین حق ثبت اختراع در ایالات متحده، چین، کره جنوبی، اروپا و دیگر مناطق درخواست داده و دریافت نیز کرده، بنابراین ممکن است طی ماه‌ها یا سال‌های آینده شاهد تولید این تلفن باشیم.

البته در حال حاضر هیچ یک از این‌ها حتی به واقعیت هم نزدیک نیست. اگر شیائومی هر مفهومی را که برای آن ثبت اختراع شده بفروشد، بازار گوشی‌های هوشمند جای عجیب تری خواهد شد.

انتهای پیام
این مطلب برایم مفید است
11 نفر این پست را پسندیده اند

موضوعات داغ

  • کدخبر: 1494634
  • منبع: باشگاه خبرنگاران جوان
  • نسخه چاپی
نظرات و دیدگاه ها

مسئولیت نوشته ها بر عهده نویسندگان آنهاست و انتشار آن به معنی تایید این نظرات نیست.