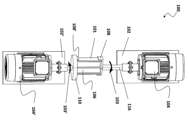
به گزارش ایرنا از روابط عمومی دانشگاه ایلام دکتر عبدالحمید عزیزی استادیار دانشکده فنی و مهندسی و مهندس عارف اعظمی بعد از چندین سال تلاش و مطالعه اختراعی را در این زمینه با عنوان «Rotational Abrasive Micro/Nano Finishing» در اداره اختراعات و مالکیت های صنعتی آمریکا «USPTO» بعنوان یکی از مراجع ارزیابی اختراعات دنیا به ثبت رساندند.
در این اختراع یک روش جدید و یک دستگاه جدید طراحی و ساخته شده که علاوه بر جدید بودن در دنیا توانایی حصول به کیفیت سطح در حد نانو را برای قطعات استوانه ای فراهم می نماید که چاپ چندین مقاله در مجلات معتبر بین المللی دلالت بر این موضوع دارد.
این اختراع دانشگاه ایلام را در زمره معدود دانشگاه های داخلی دارای اختراع گرنت شده در ادارات ثبت اختراع معتبر دنیا قرار می دهد.
به گزارش ایرنا امروزه فرایندهای مربوط به بالا بردن کیفیت سطح در کشورهای صنعتی حجم 20 تا 25 درصد از فرایندهای ماشین کاری را به خود اختصاص داده است.
در این بین فرایندهایی سنتی وجود دارند که دارای محدودیت های زیادی چه از لحاظ کیفیت سطح حاصل شده و چه از لحاظ تکنیک انجام فرایند می باشند.
در این رابطه می توان گفت که روش های سنتی توانایی حصول به کیفیت های سطح زیر میکرو را نمی توانند فراهم کنند و از طرفی دیگر با توجه به ابزارهای مورد استفاده در این روش ها محدودیت هایی از لحاظ شکل هندسی قطعه پیش خواهد آمد و باعث می شود تا نتوان قطعاتی با هندسه پیچیده را توسط این فرایندها پرداخت نمود.
جهت رفع ایرادهای فوق تلاش های زیادی توسط محققین این زمینه صورت گرفته که منجر به ایجاد روش هایی نوین و پیشرفته جدیدی شده که محدودیت های فوق را نداشته و امکان دست یابی به کیفیت های سطح نانو را نیز فراهم می سازند.
دانشگاه ایلام که سال ۱۳۵۵ به عنوان تنها دانشکده مستقل دامپروری و شاخه ای از دانشگاه رازی کرمانشاه شروع به فعالیت کرد هم اکنون با بیش از شش هزار و 800 دانشجو در مقاطع تحصیلی کاردانی، کارشناسی، کارشناسی ارشد و دکتری و 199 عضو هیات علمی یکی از قطب های علمی غرب کشور محسوب می شود.
دانشگاه ایلام در حال حاضر در قالب هفت دانشکده نفت و گاز، کشاورزی، الهیات ، ادبیات و علوم انسانی، فنی و مهندسی، علوم پایه، پیرا دامپزشکی به ریاست پروفسور محمد علی اکبری سازماندهی شده و فعال است.
6034
در این اختراع یک روش جدید و یک دستگاه جدید طراحی و ساخته شده که علاوه بر جدید بودن در دنیا توانایی حصول به کیفیت سطح در حد نانو را برای قطعات استوانه ای فراهم می نماید که چاپ چندین مقاله در مجلات معتبر بین المللی دلالت بر این موضوع دارد.
این اختراع دانشگاه ایلام را در زمره معدود دانشگاه های داخلی دارای اختراع گرنت شده در ادارات ثبت اختراع معتبر دنیا قرار می دهد.
به گزارش ایرنا امروزه فرایندهای مربوط به بالا بردن کیفیت سطح در کشورهای صنعتی حجم 20 تا 25 درصد از فرایندهای ماشین کاری را به خود اختصاص داده است.
در این بین فرایندهایی سنتی وجود دارند که دارای محدودیت های زیادی چه از لحاظ کیفیت سطح حاصل شده و چه از لحاظ تکنیک انجام فرایند می باشند.
در این رابطه می توان گفت که روش های سنتی توانایی حصول به کیفیت های سطح زیر میکرو را نمی توانند فراهم کنند و از طرفی دیگر با توجه به ابزارهای مورد استفاده در این روش ها محدودیت هایی از لحاظ شکل هندسی قطعه پیش خواهد آمد و باعث می شود تا نتوان قطعاتی با هندسه پیچیده را توسط این فرایندها پرداخت نمود.
جهت رفع ایرادهای فوق تلاش های زیادی توسط محققین این زمینه صورت گرفته که منجر به ایجاد روش هایی نوین و پیشرفته جدیدی شده که محدودیت های فوق را نداشته و امکان دست یابی به کیفیت های سطح نانو را نیز فراهم می سازند.
دانشگاه ایلام که سال ۱۳۵۵ به عنوان تنها دانشکده مستقل دامپروری و شاخه ای از دانشگاه رازی کرمانشاه شروع به فعالیت کرد هم اکنون با بیش از شش هزار و 800 دانشجو در مقاطع تحصیلی کاردانی، کارشناسی، کارشناسی ارشد و دکتری و 199 عضو هیات علمی یکی از قطب های علمی غرب کشور محسوب می شود.
دانشگاه ایلام در حال حاضر در قالب هفت دانشکده نفت و گاز، کشاورزی، الهیات ، ادبیات و علوم انسانی، فنی و مهندسی، علوم پایه، پیرا دامپزشکی به ریاست پروفسور محمد علی اکبری سازماندهی شده و فعال است.
6034
کپی شد